CTB, Inc. v. Hog Slat, Inc., 2018 WL 4035945, No.
14-CV-157-FL (E.D.N.C. Aug. 22, 2018)
14-CV-157-FL (E.D.N.C. Aug. 22, 2018)
CTB sued HS for making an allegedly exact replica of CTB’s poultry
feeder, infringing its registered trademarks for product configuration and
color (color on the supplemental register).
feeder, infringing its registered trademarks for product configuration and
color (color on the supplemental register).
![]() |
| The parties’ feeders, side by side |
Pan feeders are the industry standard. The usual configuration: a pan
(bottom portion in which feed collects), grill (top portion, usually made up of
spokes of varying number, size, and shape), and center cone (feed distribution
mechanism). Feeders are sold to roughly forty “integrators,” who own the
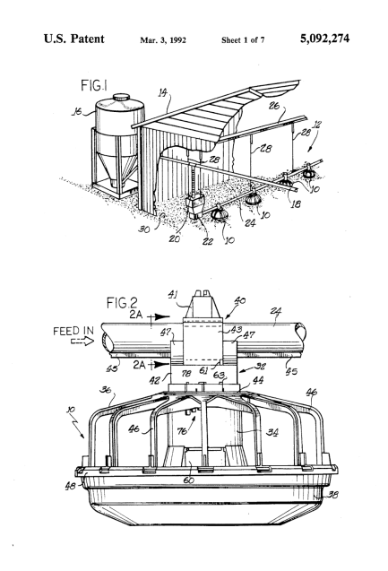
chickens and dictate which feeders individual growers may use. Also of relevance, CTB also had a patent for
a poultry
feeder, which expired in 2010. The patent said it was aimed at
providing a “barrier for preventing birds and animals from bodily climbing into
the feeder yet simultaneously allowing those that do force their way inside to
easily exit without sustaining injury or damaging the feeder apparatus.” (It
discloses a locking brood gate and a mechanism for rotationally unlocking and
locking the pan structure and grill structure together.
(bottom portion in which feed collects), grill (top portion, usually made up of
spokes of varying number, size, and shape), and center cone (feed distribution
mechanism). Feeders are sold to roughly forty “integrators,” who own the
chickens and dictate which feeders individual growers may use. Also of relevance, CTB also had a patent for
a poultry
feeder, which expired in 2010. The patent said it was aimed at
providing a “barrier for preventing birds and animals from bodily climbing into
the feeder yet simultaneously allowing those that do force their way inside to
easily exit without sustaining injury or damaging the feeder apparatus.” (It
discloses a locking brood gate and a mechanism for rotationally unlocking and
locking the pan structure and grill structure together.
![]() |
| Image from patent drawings |
Right after the patent expired, CTB filed a trademark
application for the configuration of its feeder, which was rejected on
functionality grounds. CTB responded and the PTO issued a registration:
application for the configuration of its feeder, which was rejected on
functionality grounds. CTB responded and the PTO issued a registration:
The mark consists of a
three-dimensional configuration of a unique mechanized poultry feeder which
includes a pan structure and a grill structure. When viewed from any side, the
perimeter of the feeder has a generally octagonal shape as it has two generally
vertical sides, one defined at the bottom of the pan structure and the other
defined at the top of the grill structure, and four generally diagonal sides
which inter connect the vertical sides to the horizontal sides. Internal angles
between the diagonal sides and the vertical sides are generally smaller than
the internal angles between the diagonal sides and the horizontal sides. The
matter shown in broken lines is not part of the mark and serves only to show
the position or placement of the mark.
three-dimensional configuration of a unique mechanized poultry feeder which
includes a pan structure and a grill structure. When viewed from any side, the
perimeter of the feeder has a generally octagonal shape as it has two generally
vertical sides, one defined at the bottom of the pan structure and the other
defined at the top of the grill structure, and four generally diagonal sides
which inter connect the vertical sides to the horizontal sides. Internal angles
between the diagonal sides and the vertical sides are generally smaller than
the internal angles between the diagonal sides and the horizontal sides. The
matter shown in broken lines is not part of the mark and serves only to show
the position or placement of the mark.
CTB also sought to register the configuration and the color
combination of red pan and gray grill, which was rejected on functionality
grounds. Then it sought to register only
the color combination, which application was rejected multiple times for lack
of inherent distinctiveness and ended up on the supplemental register.
combination of red pan and gray grill, which was rejected on functionality
grounds. Then it sought to register only
the color combination, which application was rejected multiple times for lack
of inherent distinctiveness and ended up on the supplemental register.
Another patent owned by CTB says: “[I]t is relatively well
known within the agricultural industry that adult turkeys and chickens are
attracted to the color red and, therefore, many adult turkey and chicken
feeding trays are now colored red in order to entice the adult turkeys and
chickens to move towards the red feeding tray so that it is easier for the
adult turkey and chickens to find their food.” And it touts the virtues of
reflective particles, which attract feeding animals, “preferably metallic
flecks or flakes, such as titanium or aluminum, or any other metallic or
non-metallic material that will bond with the nonreflective material of the
feeder.”
known within the agricultural industry that adult turkeys and chickens are
attracted to the color red and, therefore, many adult turkey and chicken
feeding trays are now colored red in order to entice the adult turkeys and
chickens to move towards the red feeding tray so that it is easier for the
adult turkey and chickens to find their food.” And it touts the virtues of
reflective particles, which attract feeding animals, “preferably metallic
flecks or flakes, such as titanium or aluminum, or any other metallic or
non-metallic material that will bond with the nonreflective material of the
feeder.”
As sold, each feeder has the parties’ respective registered
brand names molded onto the upper grill portion and bottom pan portion of the
feeders.
brand names molded onto the upper grill portion and bottom pan portion of the
feeders.
Functionality: The court quoted a previous case: “TrafFix does not require that a patent
claim the exact configuration for which trademark protection is sought in order
to undermine an applicant’s assertion that an applied-for mark is not de jure
functional. Indeed, TrafFix teaches
that statements in a patent’s specification illuminating the purpose served by
a design may constitute equally strong evidence of functionality.” The expired utility patent here contrasted
its supposedly better shape to prior art configurations whose “shape and
configuration of the barriers” allowed “birds which force their way in the
feeder apparatus [to] become trapped inside.” “This functional advance is
echoed multiple times in the claims of the patent and is specifically connected
to the configuration of the feeder.” This was strong evidence of functionality;
the registered mark claimed the same features as the patent. Likewise, the other patent showed every angle
of the configuration as claimed in the trademark registration and didn’t
acknowledge any other embodiments with different configurations.
claim the exact configuration for which trademark protection is sought in order
to undermine an applicant’s assertion that an applied-for mark is not de jure
functional. Indeed, TrafFix teaches
that statements in a patent’s specification illuminating the purpose served by
a design may constitute equally strong evidence of functionality.” The expired utility patent here contrasted
its supposedly better shape to prior art configurations whose “shape and
configuration of the barriers” allowed “birds which force their way in the
feeder apparatus [to] become trapped inside.” “This functional advance is
echoed multiple times in the claims of the patent and is specifically connected
to the configuration of the feeder.” This was strong evidence of functionality;
the registered mark claimed the same features as the patent. Likewise, the other patent showed every angle
of the configuration as claimed in the trademark registration and didn’t
acknowledge any other embodiments with different configurations.
The patent stated that the area created by the grill and its
individual spokes and hub allowed for the functionality of birds entering and
exiting the feeder without injury. CTB’s
ads also touted a “patented feeder grill design [that allows] young birds to
exit pans easily” and so on, providing further evidence of functionality. The
parties agreed that the pan underneath the grill was shaped functionally. This
dicated the V-shaped profile of the pan claimed as part of the trade dress. CTB
argued that the section connecting the upper grill structure to the lower pan
member wasn’t functional: the “two vertical walls, partly formed from the pan
structure.” However, the “double-pan lip,” as touted in CTB ads, functioned to
save feed.
individual spokes and hub allowed for the functionality of birds entering and
exiting the feeder without injury. CTB’s
ads also touted a “patented feeder grill design [that allows] young birds to
exit pans easily” and so on, providing further evidence of functionality. The
parties agreed that the pan underneath the grill was shaped functionally. This
dicated the V-shaped profile of the pan claimed as part of the trade dress. CTB
argued that the section connecting the upper grill structure to the lower pan
member wasn’t functional: the “two vertical walls, partly formed from the pan
structure.” However, the “double-pan lip,” as touted in CTB ads, functioned to
save feed.
The appropriate focus is the overall trade dress, but the
whole trade dress was functional: this was “an arrangement of functional parts,
the arrangement of which was dictated solely by functional concerns.” Alternative designs need not be considered.
whole trade dress was functional: this was “an arrangement of functional parts,
the arrangement of which was dictated solely by functional concerns.” Alternative designs need not be considered.
The presumption of nonfunctionality from registration had
dropped from the case, and there was no evidence the configuration was dictated
by any concerns other than functionality.
[What CTB submitted to PTO in response to overcome the initial rejection
was basically arguments that there were other designs in the industry and that
its ads and patent mostly claimed
advantages that weren’t part of the identified configuration, which doesn’t
seem like a strong argument to me.]
dropped from the case, and there was no evidence the configuration was dictated
by any concerns other than functionality.
[What CTB submitted to PTO in response to overcome the initial rejection
was basically arguments that there were other designs in the industry and that
its ads and patent mostly claimed
advantages that weren’t part of the identified configuration, which doesn’t
seem like a strong argument to me.]
Color: The parties’
products consisted of a red pan and a grill that is silver with metal flakes or
shiny gray. Here’s a great legal sentence: “[I]t is undisputed that chickens
are attracted to shiny objects.” CTB argued that metal flakes weren’t relevant
because it was claiming only the color gray. But the use of metal flakes in a
gray color scheme could be functional. Plus, the parties both used shiny gray,
so CTB’s argument meant that it wouldn’t be using an embodiment its own trade
dress, which the court thus concluded was red and shiny gray. There was no presumption of validity here,
and CTB’s own patent and ads touted the advantages of using red and shiny gray.
Other CTB patents, and other industry patents, also identified red as
functional for attracting poultry. [If
functional for poultry, why not for people?] CTB’s witness Cole also testified that he
conducted tests and found that red and shiny gray was close to the best.
products consisted of a red pan and a grill that is silver with metal flakes or
shiny gray. Here’s a great legal sentence: “[I]t is undisputed that chickens
are attracted to shiny objects.” CTB argued that metal flakes weren’t relevant
because it was claiming only the color gray. But the use of metal flakes in a
gray color scheme could be functional. Plus, the parties both used shiny gray,
so CTB’s argument meant that it wouldn’t be using an embodiment its own trade
dress, which the court thus concluded was red and shiny gray. There was no presumption of validity here,
and CTB’s own patent and ads touted the advantages of using red and shiny gray.
Other CTB patents, and other industry patents, also identified red as
functional for attracting poultry. [If
functional for poultry, why not for people?] CTB’s witness Cole also testified that he
conducted tests and found that red and shiny gray was close to the best.
CTB argued that there was no scientific evidence to support
the conclusion that chickens are more attracted to these colors versus other
colors. CTB misperceived on whom the burden lay, and didn’t show that the
colors were “ornamental, incidental, or arbitrary” or were chosen for any
reason other than functionality. Dismissing its own position in its patent as “apocryphal
lore” couldn’t avoid summary judgment. [But might make for an interesting ad by
a competitor, a la the Pizza Hut Puffery
ad.] Plus, functionality is a legal conclusion, not a scientific one.
the conclusion that chickens are more attracted to these colors versus other
colors. CTB misperceived on whom the burden lay, and didn’t show that the
colors were “ornamental, incidental, or arbitrary” or were chosen for any
reason other than functionality. Dismissing its own position in its patent as “apocryphal
lore” couldn’t avoid summary judgment. [But might make for an interesting ad by
a competitor, a la the Pizza Hut Puffery
ad.] Plus, functionality is a legal conclusion, not a scientific one.
CTB argued that it could still have rights in a color combo,
but “a functional arrangement of functional parts remains functional. The undisputed
evidence shows that, historically, plaintiff utilized a red pan and metal grill
for functional reasons, and, more recently, plaintiff utilizes a red pan and
gray plastic grill with metal flakes for functional reasons.”
but “a functional arrangement of functional parts remains functional. The undisputed
evidence shows that, historically, plaintiff utilized a red pan and metal grill
for functional reasons, and, more recently, plaintiff utilizes a red pan and
gray plastic grill with metal flakes for functional reasons.”
For some reason [which could be the difficulty in analyzing an unfair competition claim based only on labeling, especially when we know that labels often don’t work], the court went on to deal with remaining
unfair competition claims as a matter of failure to show damages/proximate
cause instead of pointing out that functionality ended anything but, perhaps, a
claim for insufficient labeling. There was no evidence of any harm, just a
theory of price erosion.
unfair competition claims as a matter of failure to show damages/proximate
cause instead of pointing out that functionality ended anything but, perhaps, a
claim for insufficient labeling. There was no evidence of any harm, just a
theory of price erosion.
from Blogger https://ift.tt/2LwJovq




